Nazivna struja 80A izravno
MID certifikat
Visoka točnost klase C
Montaža na DIN šinu od 35 mm
Pulsni izlaz
4 modula širine 72 mm
Za IoT upravljanje energijom, tvornica, škola
AC jednofazno mjerenje
80A izravna ulazna struja
CE-MID certifikat
Klasa visoke točnosti 1
Ugradnja na DIN šinu
RS485 komunikacija
Primjena: IoT upravljanje energijom, tvornica, škola
+86-18702106858 / +86-21-69156352
Jednofazno električno brojilo ADL200 je kompaktno i visokoprecizno mjerilo energije dizajnirano za niskonaponske sustave. Mjeri jednofaznu djelatnu energiju i razne električne parametre kao što su napon, struja, snaga i faktor snage. S 8-bitnim LCD zaslonom nudi jasna očitanja aktivne energije u pozitivnim i negativnim kWh. Brojilo ima RS485 komunikacijsko sučelje s MODBUS-RTU protokolom, što ga čini idealnim za integraciju u IoT platforme i sustave upravljanja energijom. Certificiran prema standardima IEC62053-21 i IEC62053-22, osigurava pouzdan rad i točnost. Njegova montaža na DIN tračnicu i faktor male veličine olakšavaju postavljanje u različite primjene.
| Tehnički parametri | Vrijednost | |
| Ulazni napon | Referentni napon | AC 220V |
| Referentna frekvencija | 50 Hz | |
| Potrošnja energije | <10VA | |
| Ulazna struja | Osnovna struja | 10A |
| Maksimalna struja | 80A | |
| Početna struja | 4‰ lb | |
| Potrošnja | <4VA | |
| Izvedba mjerenja | Točnost mjerenja | 1 razred |
| Raspon mjerenja | 000000,00-999999,99 kWh | |
| Točnost sata | Pogreška ≤0,5 s/d | |
| Izlaz | Pulsna širina | 80±20ms |
| Konstanta pulsa | 1000 imp/kWh | |
| Kočnica s automatskim ponovnim uključivanjem | Sučelje | RS485 (A B-) |
| Način povezivanja | Shiel | |
| ded upredene parice | ||
| Protokol | Modbus-RTU | |
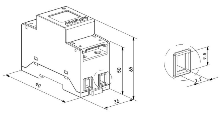
| D*Š*V | 90*36*65 mm | |
| Jaki strujni moment priključka | <1,8 Nm | |
Upravljanje energetskom učinkovitošću
IoT EMS rješenje
Osnovano 2003. godine, Acrel Co., Ltd.【Stock Code: 300286.SZ】 visoko je tehnološko poduzeće specijalizirano za rješenja za upravljanje energijom i električnu sigurnost. Sa sjedištem u Šangaju, Acrel nudi inovativna i održiva rješenja za mikromrežnu energetsku učinkovitost i električnu sigurnost. S preko 600 patenata i softverskih autorskih prava, Acrel je globalno implementirao više od 28.000 sistemskih rješenja, tvoreći sveobuhvatnu "cloud-edge-end" energetsku internetsku arhitekturu.
Acrel Co., Ltd. is China Wholesale AC jednofazni mjerač energije s izravnim pristupom na DIN tračnicu RS485 Manufacturers and AC jednofazni mjerač energije s izravnim pristupom na DIN tračnicu RS485 Factory. Acrel's integrated product ecosystem spans from cloud platform software to end-user components, covering sectors such as power, renewable energy, data centers, smart buildings, transportation, and smart cities. These solutions enable intelligent, real-time energy management, enhancing energy security and reducing operational costs. We offer AC jednofazni mjerač energije s izravnim pristupom na DIN tračnicu RS485 for sale.
Proizvodni pogon tvrtke, Jiangsu Acrel Electric Manufacturing Co., Ltd., pridržava se strogih standarda kvalitete i ekoloških smjernica, s naprednim centrima za testiranje i predanošću proizvodnim procesima bez olova. Acrelov tim od preko 500 inženjera isporučuje vrhunske sustave energetske učinkovitosti i pametna energetska rješenja.
Sa snažnom domaćom prisutnošću, Acrel se aktivno širi na međunarodnoj razini, uz podršku globalne mreže prodajnih i tehničkih timova i platforme za e-trgovinu koja osigurava besprijekorno iskustvo usluge diljem svijeta. Acrel s ponosom pomaže tvrtkama poboljšati učinkovitost, smanjiti potrošnju i postići ciljeve održivosti.
Zajedno gradimo pametniju, zeleniju budućnost.
Ovlašteni patenti
0+Broj opsluženih klijenata
0+Ukupno zaposlenika
0+Proizvodna baza
0m²Suvremeni električni krajolik složena je tapiserija međusobno povezanih energetskih sustava, pretežno izmjenične struje (AC) za proizvodnju, prijenos i distribuciju. Međutim, porast obnovljivih izvora energije, skladištenja energije, električnih vozila i industrijskih procesa doveo je sustave ist...
Read MoreModernoa električna mreža je remek-djelo inženjerstva, ogromna i međusobno povezana mreža dizajnirana za isporuku energije iz proizvodnih izvora do krajnjih korisnika s izuzetnom pouzdanošću. U srcu ovog sustava leže dalekovodi visokog napona, mišićne arterije koje prenose goleme količine energij...
Read MoreU području električnog održavanja, upravljanja energijom i pouzdanosti sustava, uloga analizator kvalitete električne energije je neizostavan. Ovi su uređaji dugo bili kamen temeljac za dijagnosticiranje širokog spektra električnih problema, od jednostavnih fluktuacija napona do složenih p...
Read More